佳能又新注册三支大光圈广角镜设计专利
从进入全画幅微单以来,佳能已经推出不少支高光线素质的RF卡偶镜头,并且大都拥有较过去或者其他品牌同级镜头更大的光圈,比如28-70mm f/2.0L、50mm f/1.2L等。而在近日佳能又新注册三支f/1.4光圈镜头设计,不知道会属于是顶级的系列或只是中端定位呢?
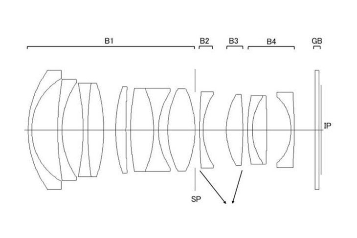
这次注册的镜头设计分别是22mm f/1.4、24mm f/1.4以及35mm f/1.4,其中35mm的光学设计专利佳能已非第一次注册,即是这个焦距的f/1.4光学设计佳能拥有多于一个选择。不过值得留意的是,消息来源一直指佳能即将会推出一支 RF 35mm f/1.2 L的镜头,而目前佳能已经推出了一支性价比较高的RF 35mmf/1.8 macro IS USM。而佳能现在推出的顶级大光圈定焦镜分别有RF 50mm f/1.2L USM以及RF 85mm f/1.2L USM,有关方面将f/1.4光圈的系列列入较高中阶的镜头也是有可能的,且这不但让镜头可以造得较轻巧,定价上也可以更有竞争力。大家会期望这几支镜推出吗?
分享这篇文章:
























评论