佳能申请RF 15-45mm F4.6-8镜头专利
佳能申请RF 15-45mm F4.6-8镜头专利(日本专利申请号:2021-26196)。

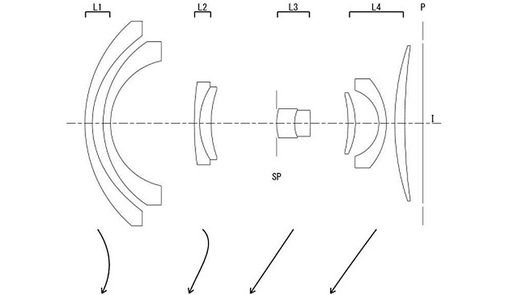
以下为本专利实施例:
佳能RF 15-45mm F4.6-8镜头
焦距:14.95mm 28.12mm 43.68mm
光圈值:F4.62 F6.22 F8.00
半视角:55.35° 37.57° 26.35°
像高:21.64mm 21.64mm 21.64mm
镜头长度:92.22mm 86.07mm 89.94mm
后焦距:4.95mm 17.00mm 30.06mm
原文链接:佳能申请RF 15-45mm F4.6-8镜头专利 咔够网 (camgle.com)
分享这篇文章:
























评论